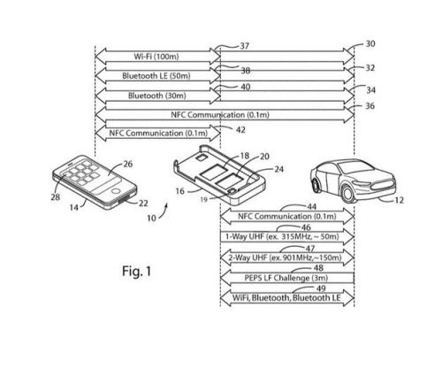
福特公司最近获得了一项智能手机壳专利,可以同时充当汽车钥匙。
这项专利希望设计一种跟普通智能手机壳相似的产品,但也会额外增加NFC功能和UHF发射器及接收器,从而使之可以兼容较老的汽车钥匙。
虽然对于全新的车型而言,这种手机壳车钥匙的吸引力并不大,但的确可以取代比较老的独立车钥匙。
上一篇:锁定未来AI攻防,百度安全全新诠释“矛与盾”
下一篇:误差只有1毫米!看架车机如何擎起高铁脊梁
地址:北京市房山区拱辰街道天星街1号院9号楼3层314-319中细软集团全国免费服务热线:400-700-0065
中细软移动互联科技有限公司版权所有备案号: 京ICP备15031491号-2 京公网安备11011102001293号
请输入您的手机号码
请输入验证码
该名称一经填写,无法更改。
请输入公司名称
您的登录身份为个人用户,暂时不支持发布需求,
您可以发布创意,说不定就成为专利了呢?
您的登录身份为企业用户,暂时不支持发布创意,
您可以发布企业需求,接收创意。
抱歉,您的身份为个人用户,无法关注创意。
抱歉,您的身份为企业用户,无法为企业留言。
验证码错误