键盘鼠标是电脑必不可少的输入设备,不过这两个外设距今已经有几十年的历史了,虽然两者在功能和舒适度上都有长足进步,但形式并没有出现变化。不过微软一项专利的曝光,让我们看到了不一样的东西。

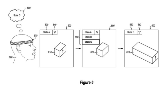
微软的这项专利可谓是满满黑科技,微软直接跳过了“手”,让用户用脑电波来控制电脑。这项专利的名称为“使用神经数据改变应用程序状态”,通过一个脑电波传感器,可以将人的大脑中的电子信号转换成电脑能够识别的指令,然后控制电脑。
从专利图上能够看到,脑电波传感器的外观是一个圆环,可以套在用户的头上,然后用户通过想象具体操作,然后电脑就能够进行相应操作了。
而且专利介绍中还提到了更为高级的操作,比如在Word里,系统可以区分中粘贴的文字是保留原格式粘贴还是纯文本粘贴。不过需要说明的是,这个专利目前还处在理论阶段,以目前的技术来看,实现的难度还是太大了,而且用户如果胡思乱想,PC会呈现胡思乱想的内容吗?
抱歉,您的身份为个人用户,无法关注创意。
验证码错误