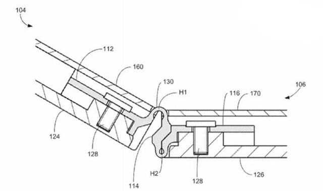
根据可靠的消息称,微软的内部目前正在研发一款名为“仙女座”的全新设备,可能这部新设备就是我们口中的SurfacePhone,按照多方面数据曝光来看,这是一款搭载Windows系统的二合一手机电脑。今天,微软一款全新专利遭到了曝光,详细的阐释了仙女座设备的铰链设计情况。


根据曝光的专利显示,微软的这款新设备将会拥有铰链连接两个屏幕,这个铰链可以算的上是一款特殊的铰链,可以让设备实现双屏显示,当这款设备屏幕折叠时将变为手机;而拉开屏幕则可以进入平板状态。跟一块屏幕设备相比呢,双屏可以增加显示面积、可玩性更高。在手机模式下,双屏可以将屏幕对折并且起到保护作用。而铰链设计让微软设备可以360度弯折,用户可以通过翻转看到另外一块显示屏的显示内容。
抱歉,您的身份为个人用户,无法关注创意。
验证码错误