对于现在的智能手机来说去,指纹已经是一个司空见惯的安全防护措施了,而Canon(佳能)似乎想把指纹加密放到自家的相机上。
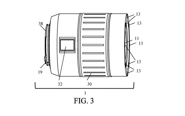
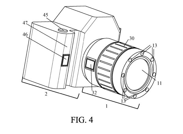
根据Canon最近提交的一项专利显示,佳能似乎想把指纹加入自家的相机,而且不仅在相机机身正面,在镜头侧(分别在下图中标记为46和32)也会加入指纹传感器。


摄影师的高价设备对小偷来说,的确是一个有吸引力的目标,佳能的锁定指纹识别设备的想法可能会减少此类事情的发生。另外,该文件建议,解锁相机也可以立即加载摄影师的自定义预置的元素,如图像质量,白平衡和ISO等等。
可以为每个能够轻松触及扫描仪的手指创建自定义设置,而根据佳能的设计,摄影师可能会有四个自定义快捷场景。
如果你是一个在拍摄过程中需要调整很多参数的摄影师,那么这在不同的设置之间进行切换肯定会非常方便。
当然,这样做也不是没有缺点,增加指纹解锁器就意味着摄影师拿出相机时会有解锁这个动作,这很有可能让摄影师失去一些抓拍的时机。
不过最后需要提醒的是,现阶段这仍只是一个专利而已,尚不清楚佳能是否会在未来推出这么一款带指纹的相机。
抱歉,您的身份为个人用户,无法关注创意。
验证码错误